苹果iPhone电动潜望摄像头专利曝光:可折叠和移动,让背面不再凸起
根据国外科技媒体 AppleInsider 报道,苹果公司近期获得了一项技术专利,通过折叠式相机镜头,可以让 iPhone背面的镜头不再凸起。

该专利名称为《带移动光学元件致动器的折叠相机》,苹果公司在专利中概述了多种方法,计划在未来的 iPhone 中融入折叠光学元件和镜头移动功能。
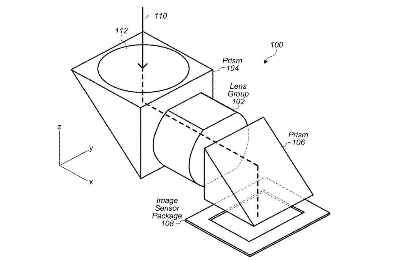
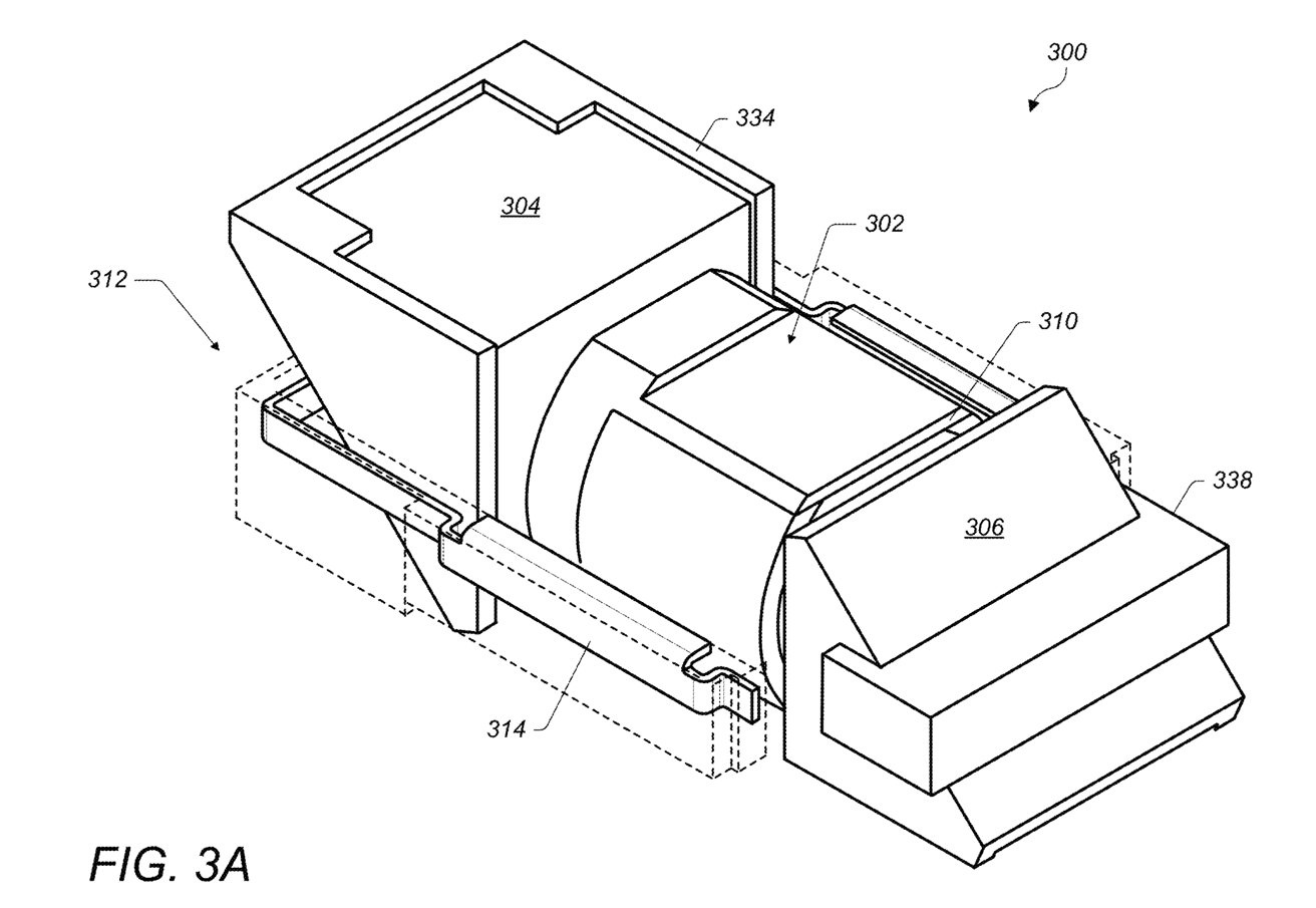
在此附上部分专利设计草图如下,在其中的一个示例中,苹果描述了由两个棱镜组成的系统,两个棱镜之间配备多个元件的透镜组。

棱镜将光沿着轴转向到成像传感器,而透镜组处理各种光学功能。透镜组可以保持在内部载体结构中,内部载体结构本身连接到外部载体结构。两个结构都可以移动,从而减少镜头厚度。
此外专利中的另一个案例还引入了电机致动器,可以根据拍摄场景需求移动两个载体,实现自动对焦。

第二和第三 VCM 致动器可用于使内部载体结构相对于外部载体结构移位,提高光学图像稳定性。
微信扫描二维码
发表您的评论吧
分类推荐 2025-11-05 11:10:02
分类推荐 2025-10-25 21:18:01
分类推荐 2025-10-22 18:55:01
分类推荐 2025-10-21 18:58:01
分类推荐 2025-10-22 15:39:01
分类推荐 2025-10-23 10:37:01
分类推荐 2025-10-21 10:44:01
分类推荐 2025-10-24 08:51:01
分类推荐 2025-10-24 08:51:01
分类推荐 2025-10-24 15:00:01
分类推荐 2025-10-22 19:20:02
分类推荐 2025-10-21 18:52:01
分类推荐 2025-10-21 14:46:01
分类推荐 2025-10-21 16:01:01
分类推荐 2025-10-29 11:32:02